USBPD快充电压诱骗芯片,设备接入通用快充生态的智能钥匙与PW6606方案深度解析
- 2026-01-14 16:00:00
- 技术管理员 原创
- 452
在USB Power Delivery(PD)快充标准普及的今天,如何让不具备完整协议处理能力的小型设备,也能从通用的PD/QC适配器中获取到9V、12V乃至20V的高压电能,从而大幅提升充电速度或驱动功率?这背后离不开一颗关键芯片—— USBPD快充电压诱骗芯片。它如同一位专业的“电力谈判代表”,驻守在设备端,通过与适配器的标准通信,为设备“争取”到预设的最佳供电条件。平芯微半导体的 PW6606正是这一领域的典型代表,以其高集成度与高可靠性,为产品设计提供了简洁高效的解决方案。
一、 PW6606芯片:核心定位与功能总览
PW6606是一颗专用的USB电源传输接收端(Sink)控制器。其核心职能并非电压转换,而是 协议通信与电压请求 。当设备通过 USB Type-C或A口连接至快充适配器时,PW6606会自动启动与适配器的握手通信,并根据其外部硬件配置,请求芯片预设的电压与电流档位,引导适配器输出相应的功率。
二、 核心特性与技术细节剖析
全面的 快充协议兼容:
PD协议 :完整支持 PD3.0/2.0 Sink协议,这是获取高压大功率的核心。
QC协议 :支持 QC3.0/2.0受电端协议,兼容广泛使用的高通快充适配器。
AFC协议 :支持三星 AFC快充协议,扩展了兼容性。
这意味着,无论是使用主流的 PD氮化镓充电器,还是旧的QC协议适配器,PW6606都能有效沟通,最大化电源的可用性。
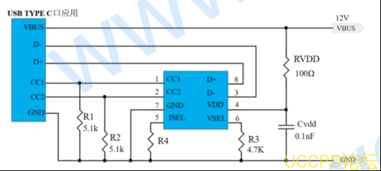
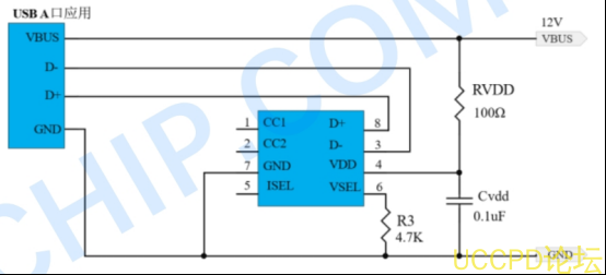
灵活的硬件编程配置:
PW6606采用最直观的电阻配置方式,通过两个引脚设定所有参数:
电压选择( VSEL引脚) :在 VSEL与GND间连接不同阻值的电阻R8,可设定请求的电压档位。例如:连接1kΩ电阻对应9V,4.7kΩ对应12V,10kΩ对应15V,15kΩ对应20V,不连接(NC)则默认为5V。
电流选择( ISEL引脚) :在 ISEL与GND间连接电阻R4,可设定请求的电流能力。例如:1kΩ对应2A,10kΩ对应3A。
这种设计让产品规格的设定和变更极其简单,无需软件编程,降低了开发和生产难度。
高可靠性设计:
28V通讯引脚耐压 :其 CC1、CC2、D+、D-等与外部直接通信的引脚具备28V的高压耐受能力。这对于防护适配器插拔过程中的意外浪涌至关重要,确保了芯片在复杂用电环境下的长期稳定。
宽输入工作电压( VDD) :芯片自身的工作电压范围达 3.3V至24V,适应性强。
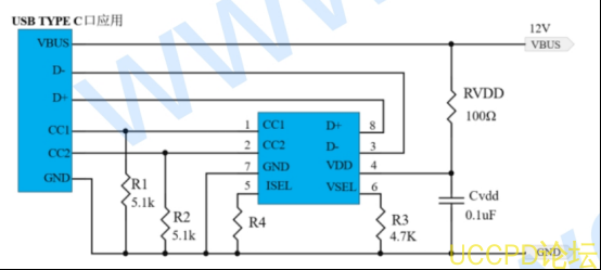
三、 典型应用电路与设计要点
PW6606的应用电路非常简洁。在典型的USB Type-C口应用中,仅需将芯片的CC1、CC2连接至Type-C接口的对应引脚,并正确配置VSEL和ISEL电阻即可。设计中需特别注意:
VDD引脚供电 :必须按照规格书建议,为 VDD引脚配置RC滤波电路(通常为电阻串联电容到地),以确保芯片内部逻辑电源的纯净与稳定,这是芯片正常启动和通信的基础。
配置电阻精度 :建议使用 1%精度的贴片电阻,以保证电压/电流请求值的准确性。
与后级电路配合 : PW6606输出的是与适配器协商后的直流电压(如12V)。此电压必须接入后级的 降压转换器( Buck)或 电池充电管理芯片 (如 PW4213),才能安全地为系统或电池供电。PW6606本身不具备稳压或充电管理功能。
四、 广泛的应用场景
凭借其 “将普通设备变身快充设备”的能力,PW6606适用于众多需要从通用USB-C/充电器获取更高功率的场景:
消费电子产品:无线充电器发射端、移动电源(作为输入快充诱骗)、便携小家电(如加湿器、便携屏)。
网络与安防设备 :无线路由器、网络交换机、监控摄像头(用于替代传统的 12V专用DC圆口适配器)。
电动工具与轻型设备 :部分小型电动螺丝刀、手持风扇、 LED工作灯等,利用PD充电器实现快速补电。
工业与嵌入式控制:作为标准化、可灵活配置的直流电源输入前端模块。
PW6606作为一款高性能的USBPD快充电压诱骗芯片,其价值在于以极简的外围设计和硬件配置方式,攻克了设备与复杂快充协议之间的兼容性难题。它赋予了产品设计者强大的灵活性,能够基于全球通用的USB PD生态来规划设备供电,从而摆脱对专用充电器的依赖,提升用户体验和产品竞争力。对于任何希望为其设备增添快充输入功能的工程师而言,PW6606提供了一个经过验证的、高可靠性的核心解决方案。


