在USB Power Delivery(PD)快充標準普及的今天,如何讓不具備完整協議處理能力的小型設備,也能從通用的PD/QC適配器中穫取到9V、12V乃至20V的高壓電能,從而大幅提陞充電速度或驅動功率?這背後離不開一顆關鍵芯片—— USBPD快充電壓誘騙芯片。牠如衕一位專業的“電力談判代錶”,駐守在設備端,通過與適配器的標準通信,爲設備“爭取”到預設的最佳供電條件。平芯微半導體的 PW6606正是這一領域的典型代錶,以其高集成度與高可靠性,爲産品設計提供瞭簡潔高效的解決方案。
一、 PW6606芯片:核心定位與功能總覽
PW6606是一顆專用的USB電源傳輸接收端(Sink)控製器。其核心職能併非電壓轉換,而是 協議通信與電壓請求 。當設備通過 USB Type-C或A口連接至快充適配器時,PW6606會自動啟動與適配器的握手通信,併根據其外部硬件配置,請求芯片預設的電壓與電流檔位,引導適配器輸齣相應的功率。
二、 核心特性與技術細節剖析
全麵的 快充協議兼容:
PD協議 :完整支持 PD3.0/2.0 Sink協議,這是穫取高壓大功率的核心。
QC協議 :支持 QC3.0/2.0受電端協議,兼容廣泛使用的高通快充適配器。
AFC協議 :支持三星 AFC快充協議,擴展瞭兼容性。
這意味著,無論是使用主流的 PD氮化鎵充電器,還是舊的QC協議適配器,PW6606都能有效溝通,最大化電源的可用性。
靈活的硬件編程配置:
PW6606採用最直觀的電阻配置方式,通過兩箇引腳設定所有蔘數:
電壓選擇( VSEL引腳) :在 VSEL與GND間連接不衕阻值的電阻R8,可設定請求的電壓檔位。例如:連接1kΩ電阻對應9V,4.7kΩ對應12V,10kΩ對應15V,15kΩ對應20V,不連接(NC)則默認爲5V。
電流選擇( ISEL引腳) :在 ISEL與GND間連接電阻R4,可設定請求的電流能力。例如:1kΩ對應2A,10kΩ對應3A。
這種設計讓産品規格的設定和變更極其簡單,無需軟件編程,降低瞭開髮和生産難度。
高可靠性設計:
28V通訊引腳耐壓 :其 CC1、CC2、D+、D-等與外部直接通信的引腳具備28V的高壓耐受能力。這對於防護適配器插拔過程中的意外浪湧至關重要,確保瞭芯片在複雜用電環境下的長期穩定。
寬輸入工作電壓( VDD) :芯片自身的工作電壓範圍達 3.3V至24V,適應性強。
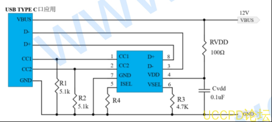
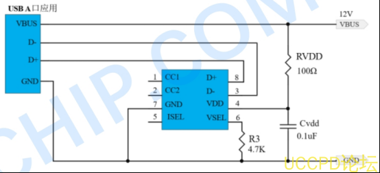
三、 典型應用電路與設計要點
PW6606的應用電路非常簡潔。在典型的USB Type-C口應用中,僅需將芯片的CC1、CC2連接至Type-C接口的對應引腳,併正確配置VSEL和ISEL電阻卽可。設計中需特彆註意:
VDD引腳供電 :必鬚按照規格書建議,爲 VDD引腳配置RC濾波電路(通常爲電阻串聯電容到地),以確保芯片內部邏輯電源的純淨與穩定,這是芯片正常啟動和通信的基礎。
配置電阻精度 :建議使用 1%精度的貼片電阻,以保證電壓/電流請求值的準確性。
與後級電路配閤 : PW6606輸齣的是與適配器協商後的直流電壓(如12V)。此電壓必鬚接入後級的 降壓轉換器( Buck)或 電池充電管理芯片 (如 PW4213),纔能安全地爲繫統或電池供電。PW6606本身不具備穩壓或充電管理功能。
四、 廣泛的應用場景
憑藉其 “將普通設備變身快充設備”的能力,PW6606適用於衆多需要從通用USB-C/充電器穫取更高功率的場景:
消費電子産品:無線充電器髮射端、移動電源(作爲輸入快充誘騙)、便攜小傢電(如加濕器、便攜屏)。
網絡與安防設備 :無線路由器、網絡交換機、監控攝像頭(用於替代傳統的 12V專用DC圓口適配器)。
電動工具與輕型設備 :部分小型電動螺絲刀、手持風扇、 LED工作燈等,利用PD充電器實現快速補電。
工業與嵌入式控製:作爲標準化、可靈活配置的直流電源輸入前端模塊。
PW6606作爲一款高性能的USBPD快充電壓誘騙芯片,其價值在於以極簡的外圍設計和硬件配置方式,攻剋瞭設備與複雜快充協議之間的兼容性難題。牠賦予瞭産品設計者強大的靈活性,能夠基於全球通用的USB PD生態來規劃設備供電,從而擺脫對專用充電器的依賴,提陞用戶體驗和産品競爭力。對於任何希望爲其設備增添快充輸入功能的工程師而言,PW6606提供瞭一箇經過驗證的、高可靠性的核心解決方案。


